阿牛巴流量計測量原理
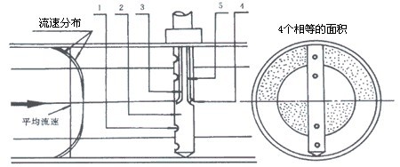
均速管流量計,它是一根沿直徑插入管道中的中空金屬桿,在迎向流體流動方向有成對的測壓孔,一般有兩對,其外形似笛。迎流面的多點測壓孔測量的是總壓,與全壓管相連通,引出平均全壓p1,背流面的中心處開有一只取壓孔,與靜壓管相通,引出靜壓p2。均速管是利用測量流體的全壓與靜壓之差來測量流速。


流量計算公式:
式中: ,——分別為質量流量(㎏/s)和體積流量(m3/s);
——流量系數 ;
——可膨脹系數;
——管道內徑,m;
——被測流體密度,㎏/m;
——差壓,Pa;
阿牛巴流量計特點
1、 均速管流量計可用于液體、氣體和蒸汽流量等各種介質流量測量;
2、 均速管流量計結構,壓力損失小,安裝、拆卸方便,維護量小;
3、 適合大管道,和不規則管道的流量測量;
4、 壓力損失小(與孔板相比較,僅為孔板的5%以下),大大減少了動力消耗,節能效果顯著。
5、 一體化式結構,成套性好;
6、 管道口徑適應范圍大,當管徑越大時,采用插入式結構,其優越性也愈突出;
7、 準確度及長期運行穩定性好,準確度可達1%,穩定度可達±O.1%;
8、 多參數智能變送,全動態溫壓自動補償。不受壓力溫度變化影響
9、 現場指示、遠傳兼容,方便系統組建及入網。
10、 開放式數字平臺,多用途串行接門?,F場總線結構,HART通訊協議
阿牛巴流量計主要技術參數
1. 量程比20:1
2. 通用管徑:8mm~8000mm;
3. 測量精度:±1.0%;
4. 重復精度:±0.1%;
5. 工作壓力:0~40Mpa;
6. 工作溫度:-100℃~800℃;
7. 適用介質:空氣、煤氣、煙氣、天然氣、自來水、鍋爐給水、含腐溶液;飽和蒸汽、過熱蒸汽等
8. 參照標準:ISO 3966-197、JB/T5325-1991及GB/T2624-2006
9. 連接方式:插入式法蘭連接,插入式螺紋連接、管道式法蘭連接、管道式螺紋連接
阿牛巴流量計結構形式
1、均速管流量計由檢測桿、取壓口和導桿組成。均速管的檢測管截面形狀分為圓形、菱形、橢圓形等多種結構。如圖所示。

2、阿牛巴流量計結構及安裝圖




客服1