玻璃轉子流量計廣泛應用于化工、石油、輕工、醫藥、環保、食品及計量測試、科學研究等部門,測量單相非脈動流體(液體或氣體)的流量。
玻璃轉子流量計有較強的耐腐性能,可檢測酸(氫氟酸除外)、堿、氧化劑和其它腐蝕性的氣體或液體的流量,適用于化工、制藥、造紙、污水處理等行業。

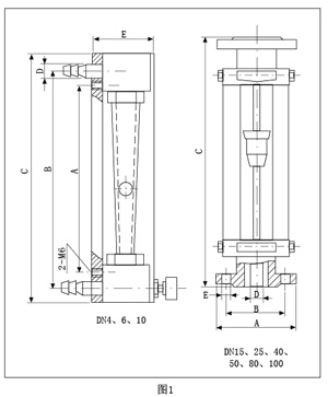
| 玻璃轉子流量計外形及安裝尺寸 | |
![]() | ![]() |
玻璃轉子流量計原理與結構
|
|
![]() | LZB/LZB-( )F流量計的錐管為光滑內壁管(見圖4),通徑DN15以上的流量計,浮子通過導桿 上下移動,保持穩定;LZJ/LZJ-( )F流量計錐管 內壁有三條導向凸筋,使浮子保持穩定(見圖4)。 通徑DN10以下的流量計采用軟管連接,配有 針形流量調節閥;通徑DN15以上流量計采用 法蘭連接。
|
玻璃轉子流量計接觸測量流體的零部件材質 |

玻璃轉子流量計型號規格及技術參數

全不銹鋼型
法蘭、浮子、導桿、支承板及螺栓等均為不銹鋼304(1Cr18Ni9Ti),型號為LZB-( )B。
接液材質如需選用316,則型號為LZB-()Bo,需定做。
如需不銹鋼內襯PTFE,則型號為LZB-()BF(或BoF),需定做。
全四氟型
基座、浮子、針閥采用聚四氟乙烯(PTTFE)。支承板、螺絲等采用








客服1